广西壮族自治区公共资源交易平台系统项目工程建设招投标子系统(水利电子标)-投标人操作手册
目录
1、驱动下载地址:https://download.bqpoint.com/

2、双击安装程序,进入安装页面,如下图所示:

注:在安装驱动之前,请确保所有浏览器均已关闭。
3、选中协议,点击“自定义安装”选项,选择安装目录位置,默认为C盘。

4、驱动安装完成后,显示安装完成界面,如下图,点击完成按钮即可:

用户可以点击桌面上的新点检测工具图标来启动检测工具,如下图:

1、检测分为‘插锁一键检测’和‘无锁一键检测’,界面分别如下:

2、输入CA密码,点击确定后,对电脑环境进行检测:

3、下图为检测结果,可对检测不通过项进行修复:

此页面是用于测试证书Key是否可以正常签章,请点击“签章显示”,在出现的窗口中,选择签章
,输入证书Key的密码,点击确定按钮。

如果能成功加盖印章,并且有勾显示,则证明您的证书Key没有问题,如下图:

为了让系统插件能够正常工作,请按照以下步骤进行浏览器的配置。
1、打开浏览器,在“工具”菜单→“Internet选项”,如下图:

2、弹出对话框之后,请选择“安全”选项卡,具体的界面,如下图:

3、点击绿色的“可信站点”的图片,如下图:

4、点击“站点”按钮,出现如下对话框,如下图,输入系统的IP地址,http://202.103.240.162:8081/EpointSSO,然后点击“添加”按钮完成添加,再按“关闭”按钮退出。

5、设置自定义安全级别,开放Activex的访问权限,如下图:

6、在弹出窗口中把Activex控件和插件的设置全部改为启用,如下图:

7、文件下载设置,开放文件下载的权限:设置为启用,如下图:

在windows工具栏中关闭弹出窗口阻止程序的操作,如下图:

1、在windows工具栏中点击兼容性视图设置选项,如下图:

在弹出对话框中输入网址,点击添加按钮,如图所示:

1、先打开广西壮族自治区公共资源交易中心门户网站(http://gxggzy.gxzf.gov.cn/),选择我要投标,点击链接打开系统登录页面,如下图:

2、系统登录页面如下图所示,输入账号密码后点击立即登录按钮可登录系统:

1、招标文件领取,答疑文件领取(如有),清单文件领取,控制价文件领取,图纸文件领取,投标文件制作,上传投标文件,中标通知书领取查看。
流程图:
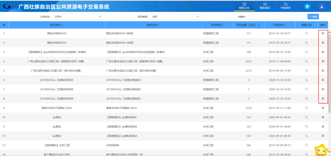
1、点击“招标公告”菜单,进入招标公告列表,如下图:

2、选中“公告中”,点击“操作”按钮,进入“下载招标文件”页面,也可以通过输入标段包编号、项目名称,在关键字中搜索,找到需要投标的标段如下图:

3、点击下载招标文件按钮,在弹出对话框中点击文件下载,下载成功招标文件后,图标变成黄色,即代表已经成功投标:

前置条件:答疑澄清文件审核通过且投标人已经下载过招标文件。
功能说明:投标人领取答疑澄清文件。
操作步骤:
1、点击“我的项目”,找到需要领取答疑澄清文件的标段,点击“操作”按钮,如下图:

2、项目流程页面,点击“答疑澄清文件领取”菜单,进入“答疑澄清文件下载”页面,如下图:
3、答疑澄清文件下载页面,点击“下载”按钮,下载答疑澄清文件。
前置条件:招标控制价文件审核通过。
功能说明:投标人领取对应控制价文件。
操作步骤:
1、点击“我的项目”,找到需要领取控制价文件的标段,点击“操作”,如下图:

2、项目流程页面,点击“控制价文件领取”菜单,进入“控制价文件下载”页面,如下图:

3、控制价文件下载页面,点击“下载”按钮,下载控制价文件,如下图:
前置条件:招标清单文件审核通过。
功能说明:投标人已领取对应招标清单文件。
操作步骤:
1、点击“我的项目”,找到需要领取招标清单文件的标段,点击“操作”,如下图:

2、项目流程页面,点击“招标清单领取”菜单,进入“招标清单下载”页面,如下图:

3、招标清单下载页面,点击“下载”按钮,下载招标清单文件,如下图:

前置条件:清单补遗审核通过。
功能说明:投标人领取对应清单文件。
操作步骤:
1、点击“我的项目”,找到需要领取清单补遗的标段,点击“操作”,如下图:

2、项目流程页面,点击“清单补遗领取”菜单,进入“招标清单下载”页面,如下图:

3、清单补遗下载页面,点击“下载”按钮,下载清单补遗文件,如下图:

前置条件:图纸审核通过。
功能说明:投标人领取对应图纸文件。
操作步骤:
1、点击“我的项目”,找到需要领取图纸文件的标段,点击“操作”,如下图:

2、项目流程页面,点击“图纸领取”菜单,进入“图纸下载”页面,如下图:

前置条件:招标文件已经领取,上传投标文件截止时间未到。
功能说明:上传投标文件
操作步骤:
1、项目流程页面,点击“上传投标文件”菜单,进入“上传投标文件”页面,如下图:

2、“上传投标文件”页面,点击“上传投标文件”按钮,只能选择后缀名为GXTF类型的文件进行上传。如下图:

注:到了上传投标文件截止时间则无法上传。如果投标文件有调整,可以选择撤销本次投标,重新上传新的投标文件。
前置条件:投标单位已经中标。
功能说明:投标人查看、打印中标通知书。
操作步骤:
1、点击“中标项目”模块,选择标段,点击“项目流程”,进入项目流程页面,如下图:
2、点击“结果通知书查看”菜单,进入打印中标通知书页面,如下图。

3、打印结果通知书页面,查看或打印中标通知书,如下图:

4、打印结果通知书页面,查看或打印中标通知书,如下图:

5、点击项目查看中的“中标通知书”选项,也可以查看并打印中标通知书,如下图:

前置条件:已领取招标文件。
功能说明:投标人向代理机构进行在线提问。
操作步骤:
1、点击“我的项目”菜单,进入到我的项目页面。点击左下角的“提问”按键,如下图:

2、在弹出的页面显示提问列表,如要新增提问,点击左上角的新增提问,如下图:

3、在新增问题页面,填写问题描述,完成后点击确定发送。代理回复后,在列表页能查看代理回复的内容。

前置条件:已领取招标文件。
功能说明:投标人向代理机构进行在线异议。
操作步骤:
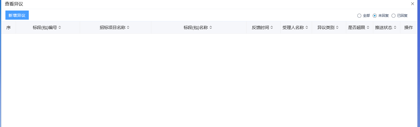
1、点击“我的项目”菜单,进入到我的项目页面。点击左下角的“异议”按键,如下图:

2、在弹出的页面显示异议列表,如要新增异议,点击左上角的新增异议,如下图:

3、在新增异议页面,填写异议描述,完成后点击确定发送。代理回复后,在列表页能查看代理回复的内容。

功能说明:投标人向代理机构进行在线异议。
操作步骤:
1、点击“我的项目”菜单,进入到我的项目页面。点击左下角的“投诉”按键,如下图:

2、在弹出的页面显示投诉列表,如要新增投诉,点击左上角的新增投诉,如下图:

3、在新增投诉页面,填写投诉内容,完成后点击确定发送。投诉提交后,行业主管部门会进行受理,受理完成后在投标列表页查看受理结果。
